Data preprocessing is a crucial step in scientific computing applications. It involves cleaning, transforming, and preparing raw data for analysis and modeling. This process improves data quality, reduces noise, and enhances the performance of downstream tasks.
Effective preprocessing techniques include handling missing data, removing outliers, and encoding categorical variables. Feature selection, data integration, and handling imbalanced datasets are also important considerations. Preprocessing pipelines automate and streamline these steps, ensuring consistency and reproducibility in data analysis workflows.
Data cleaning techniques
- Data cleaning is an essential step in data preprocessing that involves identifying and correcting errors, inconsistencies, and inaccuracies in raw data
- Cleaning data helps improve data quality, reliability, and usability for downstream analysis and modeling tasks
- Common data cleaning tasks include handling missing values, removing outliers, and eliminating duplicate records

more resources to help you study
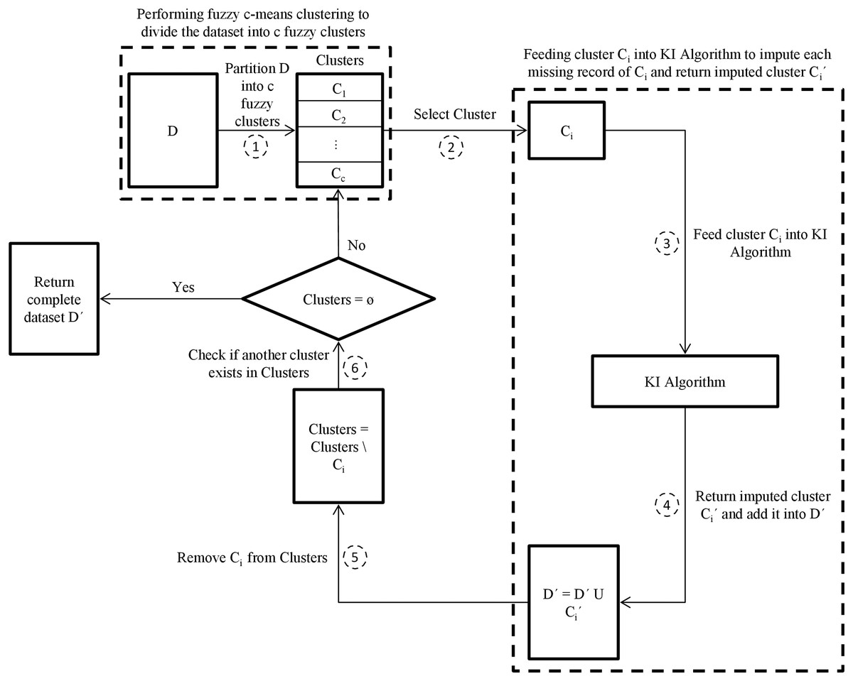
Handling missing data
- Missing data occurs when certain values are absent from a dataset due to various reasons (data entry errors, sensor failures)
- Strategies for handling missing data include deletion, imputation, and interpolation
- Deletion involves removing records or features with missing values, which can lead to loss of information
- Imputation replaces missing values with estimated values based on statistical methods (mean, median, mode) or machine learning algorithms (k-nearest neighbors, decision trees)
Identifying outliers
- Outliers are data points that significantly deviate from the normal range or distribution of the dataset
- Outliers can be caused by measurement errors, data entry mistakes, or genuine extreme values
- Techniques for detecting outliers include statistical methods (z-score, interquartile range), distance-based methods (Euclidean distance, Mahalanobis distance), and density-based methods (Local Outlier Factor, Isolation Forest)
- Outliers can be removed, transformed, or treated as separate classes depending on the context and domain knowledge
Removing duplicate records
- Duplicate records are multiple instances of the same data point or observation in a dataset
- Duplicates can arise due to data entry errors, merging datasets from different sources, or improper data collection processes
- Identifying duplicates involves comparing key attributes or creating unique identifiers for each record
- Duplicate records can be removed by keeping only the first occurrence, aggregating values, or selecting the most complete record based on predefined criteria
Data transformation methods
- Data transformation involves modifying the structure, format, or representation of data to make it suitable for analysis and modeling
- Transformation techniques aim to improve data quality, reduce dimensionality, and enhance the interpretability of features
- Common data transformation methods include normalization, standardization, scaling, encoding, and discretization
Normalization vs standardization
- Normalization and standardization are techniques used to rescale numeric features to a common range or distribution
- Normalization typically scales values to a range between 0 and 1 using min-max scaling: $x_{normalized} = \frac{x - min(x)}{max(x) - min(x)}$
- Standardization transforms values to have zero mean and unit variance using z-score: $x_{standardized} = \frac{x - mean(x)}{std(x)}$
- Normalization is useful when the relative magnitudes of features are important, while standardization is preferred when the data follows a Gaussian distribution
Scaling numeric features
- Scaling numeric features is important to ensure that all features contribute equally to the analysis or modeling process
- Scaling methods include min-max scaling (normalization), standard scaling (standardization), and robust scaling (using median and interquartile range)
- Scaling helps prevent features with larger magnitudes from dominating the analysis and can improve the convergence of optimization algorithms
Encoding categorical variables
- Categorical variables are non-numeric attributes that represent distinct categories or classes (color, gender)
- Encoding techniques convert categorical variables into numerical representations suitable for machine learning algorithms
- One-hot encoding creates binary dummy variables for each category, assigning a value of 1 to the corresponding category and 0 to others
- Ordinal encoding assigns integer values to categories based on their order or hierarchy
- Target encoding replaces categories with the mean or probability of the target variable for each category
Discretization of continuous data
- Discretization involves converting continuous numeric features into discrete intervals or bins
- Discretization can simplify the representation of data, reduce noise, and facilitate the application of certain algorithms (decision trees, association rules)
- Equal-width binning divides the range of values into intervals of equal size
- Equal-frequency binning creates intervals with an equal number of data points in each bin
- Entropy-based discretization optimizes the binning process to maximize information gain or minimize entropy
Feature selection strategies
- Feature selection is the process of identifying and selecting a subset of relevant features from the original feature set
- Feature selection aims to improve model performance, reduce overfitting, and enhance interpretability by removing irrelevant or redundant features
- Feature selection strategies can be categorized into filter methods, wrapper methods, and embedded methods
Filter vs wrapper methods
- Filter methods evaluate the relevance of features independently of the learning algorithm using statistical measures or information-theoretic criteria
- Examples of filter methods include correlation-based feature selection, chi-squared test, and mutual information
- Wrapper methods assess feature subsets by training and evaluating a specific machine learning model iteratively
- Wrapper methods search for the optimal feature subset that maximizes the model's performance (accuracy, F1-score)
- Wrapper methods are computationally expensive but can capture feature interactions and dependencies
Univariate statistical tests
- Univariate statistical tests evaluate the relationship between each individual feature and the target variable
- Common univariate tests include t-test for continuous features, chi-squared test for categorical features, and ANOVA for multi-class problems
- Features are ranked based on their statistical significance or association with the target variable
- Top-ranked features are selected based on a predefined threshold or a desired number of features
Recursive feature elimination
- Recursive Feature Elimination (RFE) is a wrapper method that iteratively removes the least important features based on a model's feature importance scores
- RFE starts with the full feature set and trains a model to obtain feature importance scores
- The least important features are removed, and the process is repeated until a desired number of features is reached
- RFE can be used with various models (linear regression, support vector machines, random forests) and can handle feature interactions
Principal component analysis (PCA)
- Principal Component Analysis (PCA) is a dimensionality reduction technique that transforms the original features into a new set of uncorrelated variables called principal components
- PCA aims to capture the maximum variance in the data using a smaller number of components
- The first principal component explains the largest amount of variance, followed by the second component, and so on
- PCA can be used for feature extraction, data visualization, and noise reduction
- The number of principal components to retain can be determined based on the explained variance ratio or a predefined threshold

Data integration challenges
- Data integration involves combining data from multiple sources to create a unified and coherent dataset for analysis
- Integration challenges arise due to differences in data formats, schemas, quality, and semantics across sources
- Addressing integration challenges is crucial for ensuring data consistency, accuracy, and usability
Merging datasets
- Merging datasets involves combining two or more datasets based on common attributes or keys
- Challenges in merging datasets include identifying the appropriate join keys, handling missing or inconsistent keys, and resolving conflicts in attribute values
- Techniques for merging datasets include inner join, outer join, and fuzzy matching based on similarity measures
Resolving schema differences
- Schema differences occur when datasets have different structures, attribute names, or data types
- Resolving schema differences involves mapping attributes from different sources to a common schema or ontology
- Techniques for schema mapping include manual mapping, rule-based mapping, and machine learning-based approaches (schema matching, ontology alignment)
Handling inconsistent data
- Inconsistent data refers to discrepancies or contradictions in attribute values across different sources
- Inconsistencies can arise due to data entry errors, different units of measurement, or varying levels of data granularity
- Techniques for handling inconsistent data include data cleansing, standardization, and conflict resolution based on predefined rules or domain knowledge
Data fusion techniques
- Data fusion involves combining information from multiple sources to obtain a more accurate and comprehensive representation of the underlying entities or phenomena
- Fusion techniques can be categorized into data-level fusion, feature-level fusion, and decision-level fusion
- Data-level fusion concatenates raw data from different sources into a single dataset
- Feature-level fusion extracts features from each source and combines them into a unified feature set
- Decision-level fusion aggregates the outputs or decisions from multiple models trained on different data sources
Preprocessing pipelines
- Preprocessing pipelines are a sequence of data preprocessing steps that are applied to raw data to transform it into a suitable format for analysis or modeling
- Pipelines automate and streamline the preprocessing workflow, ensuring consistency and reproducibility across different datasets and experiments
- Preprocessing pipelines can include various steps such as data cleaning, transformation, feature selection, and data integration
Chaining preprocessing steps
- Chaining preprocessing steps involves connecting multiple preprocessing operations in a sequential manner
- Each step in the pipeline takes the output of the previous step as input and applies a specific transformation or operation
- Chaining steps allows for modular and reusable preprocessing components that can be easily combined and modified
- Popular libraries for building preprocessing pipelines include scikit-learn's
PipelineandFeatureUnionclasses in Python
Automating data preprocessing
- Automating data preprocessing involves creating scripts or programs that execute the preprocessing steps without manual intervention
- Automation helps reduce human errors, saves time, and enables the processing of large-scale datasets
- Automated preprocessing can be triggered by data updates, scheduled jobs, or integrated into data ingestion and ETL (Extract, Transform, Load) processes
Preprocessing at scale
- Preprocessing at scale involves handling and processing large volumes of data efficiently
- Scalable preprocessing techniques leverage distributed computing frameworks (Apache Spark, Hadoop) to parallelize and distribute the preprocessing tasks across multiple nodes or clusters
- Techniques for preprocessing at scale include data partitioning, in-memory processing, and incremental updates
- Preprocessing at scale requires considerations for data storage, data movement, and resource management to optimize performance and cost
Monitoring data quality
- Monitoring data quality involves continuously assessing and tracking the quality of data throughout the preprocessing pipeline
- Data quality monitoring helps identify and address issues such as data drift, missing values, outliers, and inconsistencies
- Techniques for monitoring data quality include statistical profiling, data validation rules, and anomaly detection algorithms
- Data quality metrics can be defined based on domain-specific requirements and can include measures such as completeness, accuracy, consistency, and timeliness
- Monitoring data quality enables proactive identification and resolution of data issues, ensuring the reliability and trustworthiness of the preprocessed data
Handling imbalanced data
- Imbalanced data refers to datasets where the distribution of target classes is significantly skewed, with one or more classes having a much lower representation compared to others
- Imbalanced data poses challenges for machine learning algorithms, as they tend to be biased towards the majority class and may struggle to accurately classify the minority class
- Techniques for handling imbalanced data aim to balance the class distribution or adjust the learning process to improve the performance on the minority class
Oversampling minority class
- Oversampling involves increasing the number of instances in the minority class to balance the class distribution
- Random oversampling duplicates existing instances of the minority class, which can lead to overfitting
- Synthetic Minority Over-sampling Technique (SMOTE) generates synthetic instances by interpolating between existing minority instances and their nearest neighbors
- Adaptive Synthetic (ADASYN) sampling focuses on generating more synthetic instances for minority instances that are harder to learn
Undersampling majority class
- Undersampling involves reducing the number of instances in the majority class to balance the class distribution
- Random undersampling randomly removes instances from the majority class, which can lead to loss of information
- Tomek links identifies pairs of instances from different classes that are each other's nearest neighbors and removes the majority instance
- Cluster Centroids undersampling replaces clusters of majority instances with their centroids, reducing the dataset size while preserving the overall structure
![Handling missing data, Advanced methods for missing values imputation based on similarity learning [PeerJ]](https://storage.googleapis.com/static.prod.fiveable.me/search-images%2F%22Handling_missing_data_in_scientific_computing%3A_deletion_imputation_interpolation_strategies_visual_representation%22-fig-2-2x.jpg)
Synthetic data generation
- Synthetic data generation creates artificial instances that resemble the characteristics of the minority class
- Generative Adversarial Networks (GANs) can be used to generate synthetic instances by training a generator network to produce realistic samples and a discriminator network to distinguish between real and generated samples
- Variational Autoencoders (VAEs) learn a latent representation of the data and can generate new instances by sampling from the latent space
- Synthetic data generation helps increase the diversity and representativeness of the minority class without relying on existing instances
Cost-sensitive learning
- Cost-sensitive learning incorporates the misclassification costs into the learning process, assigning higher penalties for misclassifying the minority class
- Cost-sensitive learning modifies the training objective or the decision threshold to account for the class imbalance
- Techniques for cost-sensitive learning include weighting the instances based on their class importance, adjusting the class weights in the loss function, or using cost-sensitive algorithms (cost-sensitive decision trees, cost-sensitive support vector machines)
- Cost-sensitive learning helps the model focus on correctly classifying the minority class instances while still considering the overall performance
Preprocessing text data
- Text data preprocessing involves transforming raw text into a structured and numerical representation suitable for analysis and modeling
- Preprocessing steps for text data aim to remove noise, normalize the text, and extract meaningful features
- Common preprocessing techniques for text data include tokenization, stemming, stop word removal, and handling punctuation
Tokenization and stemming
- Tokenization is the process of splitting text into individual words or tokens
- Tokenization helps break down the text into smaller units that can be analyzed and processed separately
- Stemming reduces words to their base or root form by removing inflectional endings and suffixes
- Stemming helps normalize words with similar meanings and reduces the dimensionality of the text data
- Popular stemming algorithms include Porter stemmer and Snowball stemmer
Removing stop words
- Stop words are common words that occur frequently in a language but carry little meaningful information (the, is, and)
- Removing stop words helps reduce the dimensionality of the text data and focuses on the more informative words
- Stop word removal can be performed using predefined stop word lists or by calculating word frequencies and removing the most common words
- Language-specific stop word lists are available in libraries such as NLTK (Natural Language Toolkit) in Python
Handling punctuation
- Punctuation marks (commas, periods, exclamation marks) are often removed during text preprocessing to simplify the text representation
- Removing punctuation helps normalize the text and reduces the variability introduced by different punctuation styles
- Techniques for handling punctuation include regular expressions, string manipulation functions, or built-in methods in text processing libraries
- In some cases, specific punctuation marks may carry meaningful information (e.g., emoticons, abbreviations) and should be handled accordingly
Creating numerical representations
- Creating numerical representations of text data is necessary for applying machine learning algorithms
- Bag-of-Words (BoW) represents text as a vector of word frequencies, disregarding the order of words
- Term Frequency-Inverse Document Frequency (TF-IDF) weights the importance of words based on their frequency in a document and their rarity across the corpus
- Word embeddings (Word2Vec, GloVe) learn dense vector representations of words, capturing semantic and syntactic relationships
- Document embeddings (Doc2Vec, BERT) generate vector representations for entire documents or sentences
- Numerical representations enable the application of various machine learning algorithms (classification, clustering, similarity analysis) on text data
Preprocessing image data
- Image data preprocessing involves transforming raw image data into a suitable format for analysis and modeling
- Preprocessing steps for image data aim to normalize the images, reduce noise, and extract relevant features
- Common preprocessing techniques for image data include resizing, cropping, normalization, data augmentation, and feature extraction
Resizing and cropping
- Resizing involves changing the dimensions of an image to a fixed size
- Resizing helps standardize the input size for machine learning models and reduces computational requirements
- Cropping involves extracting a specific region of interest from an image
- Cropping can be used to focus on relevant objects or remove unwanted background information
- Resizing and cropping can be performed using libraries such as OpenCV or Pillow in Python
Normalizing pixel values
- Normalizing pixel values involves scaling the pixel intensities to a standard range (e.g., [0, 1] or [-1, 1])
- Normalization helps improve the convergence and stability of machine learning algorithms
- Common normalization techniques include min-max scaling and z-score normalization
- Normalization can be applied to individual pixels or to the entire image
Augmenting training data
- Data augmentation involves generating additional training examples by applying various transformations to the existing images
- Augmentation techniques include rotation, flipping, scaling, cropping, and adding noise
- Data augmentation helps increase the diversity and size of the training dataset, reducing overfitting and improving model generalization
- Popular libraries for data augmentation include Keras ImageDataGenerator and albumentations in Python
Extracting image features
- Feature extraction involves extracting meaningful and discriminative features from images
- Hand-crafted features capture specific characteristics of the image, such as edges, textures, or color distributions
- Examples of hand-crafted features include Histogram of Oriented Gradients (HOG), Scale-Invariant Feature Transform (SIFT), and Local Binary Patterns (LBP)
- Deep learning-based features are learned automatically by convolutional neural networks (CNNs) from raw pixel data
- Pre-trained CNN models (VGG, ResNet, Inception) can be used as feature extractors by removing the final classification layer and using the activations of the intermediate layers as features
- Extracted features can be used as input to traditional machine learning algorithms or as part of a transfer learning approach
Evaluating preprocessing impact
- Evaluating the impact of preprocessing techniques is crucial to understand their effectiveness and select the most appropriate methods for a given task
- Evaluation helps assess the quality of the preprocessed data, the performance of the subsequent analysis or modeling steps, and the overall improvement in results
- Common evaluation approaches include visualizing the transformed data, measuring model performance, comparing different preprocessing